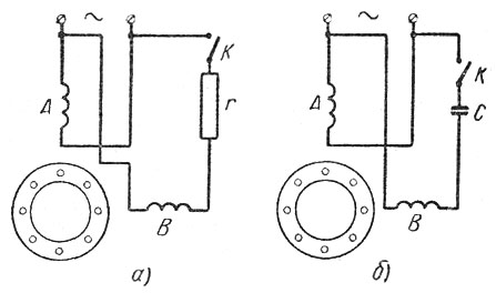
Однофазный асинхронный электродвигатель в отличие от трехфазного имеет однофазную обмотку на статоре (рис., обмотка А). Ротор однофазного электродвигателя имеет короткозамкнутую обмотку. Однофазные электродвигатели не имеют начального пускового вращающего момента потому, что однофазный ток не создает вращающегося магнитного поля.  Схема пуска однофазных асинхронных двигателей: а - последовательно с пусковой обмоткой включено активное сопротивление, б - последовательно с пусковой обмоткой включена емкость Для создания пускового момента на статоре однофазного асинхронного электродвигателя располагают вторую, так называемую пусковую обмотку, сдвинутую относительно рабочей обмотки на угол 90° (см. рис., обмотка В). Обе обмотки запитываются от сети однофазного тока. Для создания сдвига фаз между токами обеих обмоток однофазного электромотора включается резистор больного номинала или конденсатор. Пусковая обмотка включается только на время пуска, и после того как электродвигатель вышел на номинальные обороты, она отключается от сети с помощью рубилькинка К. После этого однофазный асинхронный электродвигатель продолжает работать с одной рабочей обмоткой. Однофазные асинхронные двигатели по сравнению с трехфазными двигателями имеют следующие недостатки: - отсутствие начального пускового момента однофазного асинхронного электродвигателя; - малая перегрузочная способность однофазного асинхронного электродвигателя; - более низкий КПД однофазного асинхронного электродвигателя; - меньший коэффициент мощности (cos ?) однофазного асинхронного электродвигателя. Однофазные асинхронные электродвигатели выпускаются на незначительные мощности. |